【ご注意】
金融商品取引法に基づく有価証券の価値に対する投資判断(上がる・下がる等の株価動向)や
投資助言(買いや売りの推奨)は一切行いません。
また、将来得られる利益を示唆するものではありません。
【ピックアップ配信の目的・注意点】

日曜日の週間ピックアップ配信は、「 スイングトレード(持ち越し) 」を前提とした銘柄を挙げていきます。デイトレの注目銘柄に関しましては、日々の配信を御覧ください。
6923 スタンレー電気
■MEMO
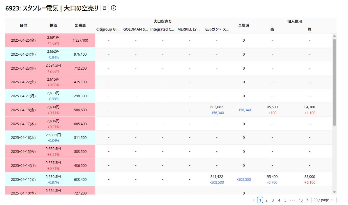
光デバイスメーカー。自動車機器(自動車用ランプ、二輪車用ランプ)、コンポーネンツ(電子デバイス製品、LED、液晶)、電子応用製品(液晶用バックライト、操作パネル、LED照明、深紫外線製品)の製造販売。前期は中国やアジアの不振が厳しかったが、合理化施策で影響は低い。関税影響で今期の業績非開示とするも「株主還元方針の変更に関するお知らせ 」にあるように、株主資本配当率(DOE)3.5%または連結配当性向40%のいずれか高い方と変更した点は今後株価にポジティブ。需給面を見ると常時出来高に対してはるかに少ない信用買い残、かつ「モルガン」の空売り買い戻し動向は好感を持てる。金曜日に2600円ラインを下ヒゲで戻しており、ファンダメンタルズよりも需給・足形からエントリーがしやすいためチョイス。
資料




7867 タカラトミー
■MEMO
玩具の大手、バンダイナムコと双璧。玩具(男児・女児・乳幼児向け玩具、ファッション玩具、アクション玩具、カードゲーム)、玩具周辺(カプセル玩具、玩具菓子、TVアニメ)、アミューズメント機器の制作・販売。前回決算では期待感が剥落したことで大幅下落となるも、3000円ラインを意識した踊り場を形成。今期は主力ブランドの強化や海外展開の拡大により、業績が引き続き成長すると見込まれているが、円高進行は重荷で要注意。足形的には本決算までの期待上げによるトレンドの転換狙いで、3400~3600円を目標値にしたい。個人が好む銘柄でお世辞にも需給が良いとは言えず、下落トレンド継続となった場合は撤退を視野に。
資料



中長期目線のスイング銘柄

長期保有銘柄ベスト10

スイングベスト30

■解説動画(3/22更新)



これは中国が米国債を大量保有しているためで、裏ルートでの売却もささやかれていますが、いずれにしても今後の日中関税交渉が世界の注目を集めそうです。一方で日米交渉は順調に進んでいるとのことで、2回目の交渉協議結果が待たれます。
日米財務相会合は、これといった決定事項はなく無風で通過しました。米国としてはドル安にもっていきたいところでしょうが、短期的にこれだけ円高に進んだ理由が「ドルに対する不信任」であることを考えれば、ドル安政策などできるはずもなく、ここは順当な結果でしょう。
一方で東京都物価指数は前年同月比で、総合+3.5% コア+3.4% コアコア+3.1% となっており、インフレ進行が際立つ結果に。 5月1日の日銀利上げはありませんが、6月・7月あたりでは日銀が再度利上げに動く可能性はかなり高まった といえるでしょう。
今後も日々のニュースフローに右往左往する相場となりそうですが、刻々と変化する相場感を確認しながら、この難局・決算シーズンを乗り切っていきましょう。





